Irina Toloknovskaia, Dreamstime.com
A Rugged, Smart System for Motor-Drive Control
May 21, 2025
Related To:
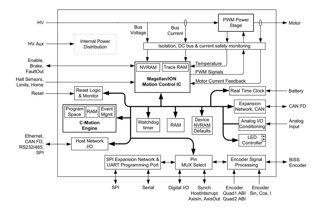
Furthermore, PMD provides the Pro-Motion Windows-based application. Pro-Motion is primarily used by engineers to set up and tune their motors. It also supports the C-Motion programming language. The on-board processor packs 256 kB of user code space and 256 kB of RAM. The system maintains a 20-kHz servo-loop rate and delivers up to 20 A.
Developer Kit
A software development kit with C-Motion support is provided. A Developer Kit is available as well, with different versions for each type of host interface.
Developer Kit includes:
- ION/CME N-Series integrated hardware and software package
- Pro-Motion® Software
- Software Development Kit (SDK) with C-Motion®
- Complete manual set
- Complete cable and prototyping connector set
Comments
Comments




